Phone Punx Files


Issue Files

Issue 2

Datu Files

figure1.gif - DATU System Application Diagram.

figure2-1.gif - Connections for All Systems (Except: 5 ESS With Integrated SLC Only, DMS-10 and DMS-100).

figure2-2.gif - System Connections for 5 ESS With Integrated SLC’s Only.

figure2-3.gif - DMS-100 MDF Connections.

figure2-4.gif - DATU-RT Card Pin Locations.

table2-1.gif - List of NTT Circuit Numbers.

table2-2.gif - LED Functions (kinda useless, but good info for SEing).

table4-1.gif - DATU Line Access Main Menu.

440hz.wav[MISSING] - 440hz. The DATU dial tone.

614hz.wav - Two beeps heard after initial audio monitor period ends.

badntt.wav[MISSING] - A rare recording of a DATU reading a "Bad No Test Trunk". Thank you god, for creating the
Greenwood Lake CO.

menu.wav[MISSING] - The Main Menu.

prgain.wav[MISSING] - DATU RT working through a SLC-96 and finding a multi party line. Listen carefully to hear
Digital Matrix telling me that I should "go outside and get him some cake". Don't ask why.


Issue 3

DACS files

flexpic.gif[MISSING] - Diagram of the network.


DATU Files

figd.txt - Detailed Description of the images.


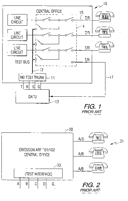
fig1a2.gif - FIG. 1 diagrammatically illustrates a telephone central office switch having a no test trunk, through respective T, R, S and G leads of which a line-conditioning and test device, such as a direct access test unit, may be controllably connectable to a selected one of any of the line circuits served by the central office.

FIG. 2 diagrammatically illustrates an Ericsson ARF 101/102 central office switch.

fig3a5.gif[MISSING] - FIG. 3 diagrammatically illustrates a Standard Electric PC-1000 central office switch.

FIG. 5 shows a test interface adapter installed between a DATU and A, B, S, S1, S2, SL, BL and G leads of a Standard Electric PC-1000 central office switch.

fig4.gif[MISSING] - FIG. 4 shows a test interface adapter according to the present invention installed between a DATU and A, B, C, D and G leads of an Ericsson ARF 101/102 central office switch.

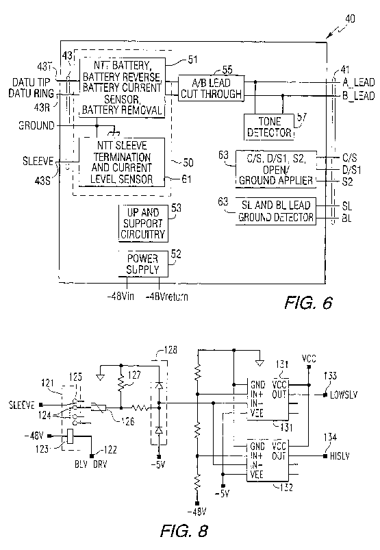
fig6a8.gif - FIG. 6 shows the internal signal mapping components of the interface adapter of the present invention.

fig8.gif[MISSING] - FIG. 8 schematically illustrates an NTT sleeve termination and current level sensor unit of the interface adapter of FIG. 6.

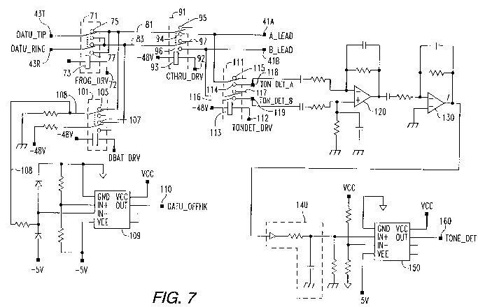
fig7.gif - FIG. 7 schematically illustrates the circuitries of the battery voltage conditioning unit, A/B cut through unit, and tone detector unit of the interface adapter of FIG. 6.

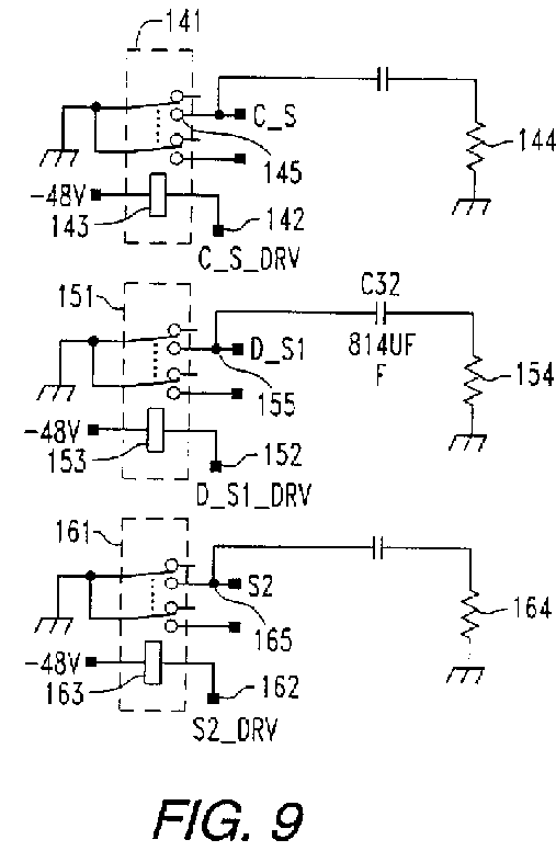
fig9.gif - FIG. 9 schematically illustrates a ground connection unit of the interface adapter of FIG. 6.

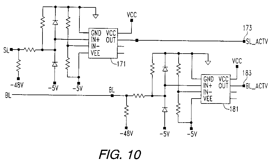
fig10.gif - FIG. 10 schematically illustrates an SL and BL ground detector unit of the interface adapter of FIG. 6.

fig11.gif - FIG. 11 contains a cadence Table 1, associated with the cadence detection mechanism for a Standard Electric central office switch.

fig12.gif - FIG. 12 contains a cadence Table 2, associated with the cadence detection mechanism for an Ericsson central office switch.