Computerize Your Room/House


Parallel Port Interface

Description

This is about the most basic interface you will see. It uses only 3 74376's (74LS367). This interface provides 8 outputs (plus 3 address lines) and 5 inputs. This is usually enough for one room, providing you make use of some demultiplexers and the address lines. You could have up to 128 output lines using the address lines, a 74LS138 and 8 74LS154's.

Begin construction by mounting the IC sockets on the board. I used a experimenters universal solder board due to the large number of wires that must cross. If a PC board were used, you would need either a multi-layer board or many, many jumpers.

Now, solder wires along the top and bottom of the board, making all the connections between the IC sockets. Do not install the IC's yet. Assemble the cable using 26 conductor ribbon cable and a 25 pin crimp connector. You will have one conductor left over so just "peel" it off. Connect the cable to the board and wire it into the circuit. I used an 18 pin socket to make connections to the outputs and inputs on the interface easy. You could do the same if you like, or use a terminal strip.

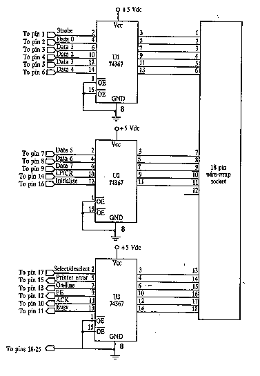
Schematic Of The Parallel Port Interface

This is the schematic of the parallel port interface

Parts:

 U1,U2,U3   74367, 74LS367, etc. Buffer
MISC Sockets, 18 Pin Socket (for Output), Board, Ribbon Cable, 25 Pin Connector

You operate the interface by sending bit patterns to the printer port. BASIC, GWBASIC or QBasic are the languages of choice since most computers already have them installed (in your DOS directory). If you wish, you can download control software from aaroncake.net.

The command you use is the OUT command. The decimal address of most printer ports (assuming LPT1) is 888. Use this with the OUT like this:

OUT 888,X

X is a number from 0 to 255 that represents the binary bit pattern.

Although designed primarily to get data out of the computer, the printer port has 5 input lines (on some computers it could be less). You access these lines with the INP function. This time, however, the decimal address is 889. The syntax of the INP command is:

Y=INP(X)

Y is the variable used to store the decimal value that is returned. X is the port number, which in this case is 889.

You may also use the OUT command to send data to the address lines. Just use address 890 instead of 888. Remember that there are only 4 address lines.

8 Bit Output Card

OK. With the basic parallel port interface done, you can build the more advanced 8 Bit Output Card.

Description

This is much more complicated then the parallel port interface, mostly because of the address lines used by the computer to send data to different devices plugged into it's bus.

This interface is constructed on an IBM 8 bit prototyping board. These are available from Jameco Electronics. Connections are made with point to point soldering or wire wrap. Note that if you use the wire wrap method the board will require about 1/2 inch clearence on the connection side.

Use sockets for all IC's. Begin construction by first mounting the sockets. Depending on which board you buy, you might have lots or very little space. Connect the IC's together using either point to point or wire wrap. I used a 36 pin connector to facilitate connection to the back of the computer, but you can use any other method. Whatever the method, install that connector and wire it into the circuit now. You may now wire the connections to the bus (the gold contacts on the bottom of the card). It is a good idea to bypass power supply pins with .1uf capacitors to avoid problems with interference, power supply spikes, etc. Triple check your work before installing the circuit in any computer. The simple circuit to connect the interface to relay's is showen after the schematic.

Schematic

This is the schematic of the 8 bit output card

Parts:

U1_________7404 Inverter
U2_________7400 NAND Gate
U3_________7432 OR Gate
U4_________74374 Buffer
U5_________7430 8 Input NAND Gate
MISC_______8 Bit IBM Prototyping Board, Connector (For Output/Input), Sockets, Capacitors For IC Bypass, Wire.

IC Power Pins

The power connections were left off the schematic for clarity. Here they are:


      Chip  |  Vcc  |  GND
      --------------------
      7400  |   14  |   7
      7404  |   14  |   7
      7430  |   14  |   7
      7432  |   14  |   7
      74374 |   20  |  10

Relay Driver Circuit

This is the schematic of the relay driver circuit

8 Bit Input Card

This input circuit can be built on the same board as the output circuit, and share the same bus connections. This circuit is necessary if you wish to use almost any type of remote control circuit, which will most likely require more then 5 inputs as provided by the printer port.

Description

Since this is quite similar to the output circuit, I won't go into the details again. Only the parts list and schematic will be showen, as well as the "power pins" chart.

Schematic Of The 8 Bit Input Card

This is the schematic of the input circuit

CAUTION: Be sure that the signals being sent to the input card do not exceed 5 volts or fall below ground!

Parts:

U1_________7404 Inverter
U2_________7400 NAND Gate
U3_________7432 OR Gate
U4_________74244 Buffer
U5_________7430 8 Input NAND Gate

The power connections were left of the schematic for clarity. Here they are:


      Chip  |  Vcc  |  GND
      --------------------
      7400  |   14  |   7
      7404  |   14  |   7
      7430  |   14  |   7
      7432  |   14  |   7
      74244 |   20  |  10

Controlling The Input And Output Cards

Controlling the cards is straight forward, using the basic INP and OUT statements as explained in the Simple Parallel Port Interface. The only difference is the address. The address for the input card is decimal 701 while the output card is decimal 703.