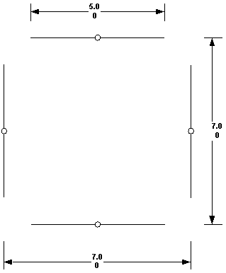
| This is an interesting idea for an easily field erectable antenna array. It started as an array of 4 half wave dipoles in a square. The figure shows this sort of scheme, with the corners 7 meters apart, and the dipoles being 5 meters long. | ![]() |
| Then, I realized that you have these feed lines hanging down in the middle of each dipole which will certainly screw up the pattern, and also has structural problems. Why not move the feed lines to the corners, and run the feed line down the pole? The dipole gets bent, which will change it's pattern (and feed point impedance), but the structure is a LOT better. | ![]() |
What with modern analysis tools, the weird impedances should be easy to figure out. Then, the challenge would be coming up with a way to feed the beast, and to look at the patterns. For such a simple array, which can't be rotated, you don't really want narrow beams. Rather, what you want is beamwidths around 90-120 degrees, decent front to back ratio (to suppress interfering signals from the wrong direction), and some vertical directivity (to reduce ground losses). The idea is that you should be able to do the phasing with a couple of pieces of coax, cut to the right lengths, and some switches to put them into the right orientation.
A NEC simulation (nec input file) was used to calculate the pattern of a single bent dipole, in free space, over ideal ground, and over real ground.. As expected, it is symmetrical around the plane of symmetry. The pattern doesn't have the sharp nulls of the ideal dipole though, with the minimum response being about 9-10 dB down from the peak. The gain relative to an isotrope is about 1.93 dBi (check this).
Pattern of a single bent dipole (20 degrees elevation angle)


Where the center of the surface is radially scaled to 40 dBi. Since the side nulls are only down about 8-9 dB, this doesn't look all that impressive.
To feed the array, we need to know where the "phase center" of the elements are. For a straight dipole, this is easy, it's at the center of the dipole. The bent dipole is a bit trickier, though. Most of the radiation from a dipole comes from the central portion, but the ends also make their contribution. This was answered with another NEC run, this one with all 4 dipoles, and using plane wave illumination coming from various directions.Then, we make use of the fact that the phase is proportional to the cosine of the angle between the incident wavefront and the vector from the origin to the phase center.
A NEC input file (bent5.txt) was built with a single bent dipole, with plane illumination coming from a variety of directions After a bit of fiddling using Excel (22kB phasecenter.xls), we find that the phase center is at (2.75,2.75,4.85) (for the dipole whose "corner" is at (3.5,3.5,5)) Excel solver gives 2.69, 2.69, 4.62 to minimize squared error.
We also need to know the mutual impedances. Using NEC (input file) , we can measure the currents on each of the dipoles with a 1 volt input. This gives us the mutual admittances (Y) from the driven element to the others. Using the geometry of the antenna, we can construct the admittance array, then invert it to get the mutual impedances (Z). Normally, this would be a real pain, but Matlab makes it pretty painless (Matlab history) if you cut and paste from the NEC output to Matlab.(More on complex matrix inversion ). The mutual impedances are in the table below. The calculations were done for all three ground conditions, mostly to get an idea of how much it changes. (Ignore the spurious accuracy in the following table. It is unlikely that you could measure the impedance to better than an ohm or so, and construction tolerances are probably bigger.)
| Z11 (self) | Z12,Z13 (adjacent) | Z14 (diagonal) | |
|---|---|---|---|
| Free Space | 45.65 + 3.78i | -16.66 + 1.27i | 8.11 -11.63i |
| Perfect Ground | 45.19 - 7.12i | -18.68 + 3.49i | 15.46 -15.46i |
| Real Ground | 45.22 - 0.79i | -18.00 + 2.05i | 12.06 -13.83i |
The whole point of this exercise is to somehow use multiple elements to get a more desirable pattern. The individual elements have responses that are much like a dipole (although the nulls aren't as sharp). We have two simple choices. The first is to phase the elements so that our "look angle" is at the 45 (or 135, 225, etc.). In this sort of scheme, a simple strategy would be to feed a dipole and the one diagonal from it, and not feed the other two. The diagonal spacing (based on previous calculations of phase center) is about 7.6 meters, or a bit short of 3/4 wavelength. The other pair of antennas is 8 dB down, so putting power into those elements isn't particularly useful (only 1/8th of it would be sent in the desired direction). On receive, using the other antennas might be useful for placing a null, but that is a bit sophisticated. If we fed the antennas phased 270 degrees out of phase, we get a nice lobe in the forward direction, and good suppression of the back lobe. Actually, we can also feed 90 degrees out of phase, and the pattern is the same, except reversed.
In reality, we probably want to optimize for a launch angle of 10-20 degrees above the horizon (since horizontal dipoles have a null AT the horizon), so the
Another set of patterns is if we feed all four elements as a pair of 2 element broadside arrays. We take a hit on being 45 degrees off the main lobe (about 3 dB), but we might pick up more performance because the vertical pattern would be better. For this situation, the front to back spacing is effectively 5 meters, or very close to a half wavelength. If we fed the two subarrays 180 out of phase, we don't suppress the back lobe at all.
dipsq.htm - 28 June 2000 - Jim
Lux
23 December 2002, 2 Jan 2003- fixed broken links to images and files
(Phased Arrays) (Antenna
index page) (Radio Home Page)
Robot Home Page
(this jumps you to luxfamily.com, by the way) (Jim's
Home Page)