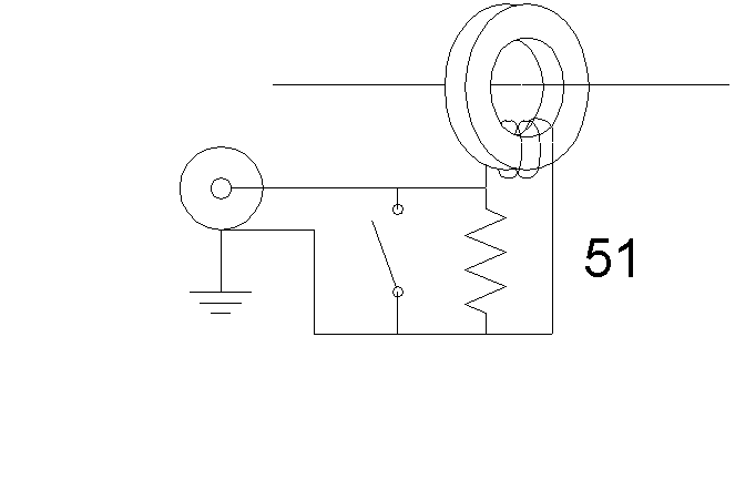
Measuring the actual element currents (in a magnitude and phase sense) in an antenna might prove useful, in which case you need some way to measure it. The typical technique, illustrated in the ARRL Antenna Book, the ON4UN book and back issues of Ham Radio magazine, is a homebuilt current transformer using a toroidal core. The drawing below shows schematically what this is. The switch (actually relay contacts, probably) allows you to remove the load resistor (and its corresponding burden on the through line).

You gotta have it! And not just because the measurement is feeding into a terminated transmission line. Otherwise, you've basically built a current transformer with no load to turn the current into a voltage or to measure the current. Normally, this wouldn't be a big deal, but, if the core material saturates, then the rapid flux changes as the core goes into and out of saturation can lead to very high voltage spikes on the measurement winding. In the power electronics business, they wire up switches and relays such that the current transformer measurement winding is shorted when not in use, or jumper it when servicing.
The drawing above shows a 51 ohm resistor, which happens to be a standard value close to that of 50 ohm coaxial cable (which itself might be closer to 52 ohms. There's nothing sacred about that value. If you want to use 75 ohm coax (i.e. cable TV coax) then the resistor should be a 75 ohm resistor to match the line. It will dissipate more power and increase loss though.. current is constant (fixed by the turns ratio).
The resistor does provide, of course, a resistive load, which will dissipate some of the power. For a 10 turn winding on the toroid, the current in the resistor will be 1/10th that flowing in the line. Assuming that you terminate in the same resistance as the transmission line you're measuring (although, there's no particularly good reason for this: the termination should match the line carrying the signal you're sensing), then the power dissipated in the burden resistor will be 20 dB less than that flowing in the line. This doesn't seem like much, but consider: if you put a kilowatt down the line, then the burden resistor is going to be dissipating 10 Watts!
If you are putting the transformer in just for tuneup, and feeding the system with a few watts, then there's no big deal. But, if you leave it connected all the time, then this is something that you should deal with. You could increase the number of turns to, say, 20 turns, which would then make it 26 dB down (1/400th the power). You could short the resistor when working at high power (not tuning). There would be some loss in the resistance of the secondary, but, it would be quite small. The current is still the same as with the resistor, but, if the loss resistance were, say, 1 ohm, instead of the 50 ohm termination, the power dissipation is 1/50th.
Yet another approach would be to put some diodes across the resistor, limiting the voltage across the resistor, and hence it's power dissipation. A diode forward voltage drop of .7 Volts at 50 ohms is about 10 milliwatts. This might introduce some distortion though. I haven't done the analysis yet, but somehow, diodes, transformers, and RF sounds like a recipe for intermod. The saving grace is that it is isolated by the 20 dB ratio of the transformer.
Probably, almost any toroid will work here. -67 type materials are suggested in some references. The concerns are saturation flux and loss. You don't want a material designed for EMI shielding: they tend to have high loss at HF frequencies (since that's their function). You don't need a particularly high permeability (mu), although, the higher the mu, the more the flux will be contained within the core, reducing the leakage inductance (i.e. that flux which doesn't go through both windings) which will tend to make the response of the device "flatter" over frequency. On the other hand, you will calibrate all the transformers against each other at different frequencies, so that should reduce the need to have real flat response.
First off, the transformers should be tested in situ. A significant error source is leakage flux and stray capacitance, both of which are environmentally sensitive. The simplest way to test them is to run the same current (at the same time) through all probes: that is, run a single wire through all the cores, and look at the outputs.
The measurement line isn't carrying any real power, so power handling capability isn't needed. And, loss isn't a big issue, unless it gets so large that you can't make measurements at the far end because the signal is too low. One does want the characteristics to be fairly stable and repeatable. 75 ohm foam insulation cable tv coax might be a good choice here. It's cheap, it handles UV, and it's pretty low loss. One can also use "F" connectors (nothing sacred about BNCs, and certainly not "UHF" connectors), which are inexpensive, can be made weatherproof, and so forth. From a cabling standpoint, too, there are "multi strand" versions of 75 ohm coax made: double coax (like giant zip cord) is used in prewiring houses and triple coax is used for separate RGB video. There are probably other multicoax cables available, although finding them cheap may not be so easy.
What about using cat 5 type cabling? It's inexpensive, and provides 4 circuits in a cable. It's roughly 100 ohms impedance, well controlled, because it's intended for use at 100 Mbps and up. There are inexpensive, high quality connectors available. The crosstalk between pairs is well characterized (since this is important for networks). Something to think about.
From an academic standpoint, or if you are just curious, then measuring the element currents and properly setting them is useful. This is particularly true if the adjustment process is manual and/or tedious. If you were building a set of fixed networks, for instance, that would be adjusted once, and then never touched again, and you had real faith in the modeling process, then measuring the currents is a good way to go.
However, the other approach to adjusting an array is just to adjust the "knobs" until the signal you want is loud and the signals you don't want aren't. If "turning the knobs" is a rapid process, as it would be with a computer controlled phasing network, then the computed currents might be a better way.
Until someone actually makes some real quantitative measurements (on a variety of arrays, etc.), it's going to be hard to figure out which approach is optimum.
Greg Ordy has a good description at http://www.seed-solutions.com/gregordy/Amateur%20Radio/Experimentation/RFProbe.htm
radio/antenna/iprobe.htm - 20 Jan 2003 - Jim Lux
(phased arrays) (antennas)
(radio) (Jim's
home page)