Методы реагирования
Атака не только должна быть обнаружена, но и необходимо правильно и своевременно среагировать на нее. В существующих системах применяется широкий спектр методов реагирования, которые можно разделить на три категории [9, 40]:
• уведомление;
• сохранение;
• активное реагирование.
Применение той или иной реакции зависит от многих фак¬торов.
Уведомление. Самым простым и широко распространенным методом уведомления является отправление администратору безо-пасности сообщений об атаке на консоль системы обнаружения атак. Такая консоль может быть установлена не у каждого сотруд¬ника, отвечающего в организации за безопасность, кроме того, этих сотрудников могут интересовать не все события безопасно¬сти, поэтому необходимо применение иных механизмов уведом¬ления. Этими механизмами могут быть отправление сообщений по электронной почте, на пейджер, по факсу или по телефону.
К категории «уведомление» относится также посылка управ-ляющих последовательностей к другим системам, например к системам сетевого управления или к МЭ.
Сохранение. К категории «сохранение» относятся два вариан¬та реагирования:
• регистрация события в БД;
• воспроизведение атаки в реальном масштабе времени.
Первый вариант широко распространен и в других системах
защиты. Для реализации второго варианта бывает необходимо «пропустить» атакующего в сеть компании и зафиксировать все его действия. Это позволяет администратору безопасности затем воспроизводить в реальном масштабе времени (или с заданной скоростью) все действия, осуществленные атакующим, анализировать «успешные» атаки и предотвращать их в дальнейшем, а также использовать собранные данные в процессе разбирательства.
Активное реагирование. К этой категории относятся следующие варианты реагирования:
• блокировка работы атакующего;
• завершение сессии с атакующим узлом;
• управлением сетевым оборудованием и средствами защиты.
IDS могут предложить такие конкретные варианты реагирования: блокировка учетной записи атакующего пользователя, автоматическое завершение сессии с атакующим узлом, реконфигурация МЭ и маршрутизаторов и т. д. Эта категория механизмов реагирования, с одной стороны, достаточно эффективна, а с другой стороны, требует аккуратного использования, так как неправильное применение может привести к нарушению работоспособности всей КИС.
В электронных системах, где носителем информации является электрический сигнал, его параметры (ток и напряжение) изменяются в соответствии с передаваемыми сообщениями. Эти процессы происходят в информационных цепях технических средств. Помимо информационных, в технических средствах существуют и неинформационные цепи такие, как цепи питания, синхронизации и т.п. Схематично эти процессы отображены на рисунке 2.
Структура и напряженность полей рассеяния, создаваемых техническими средствами и системами, зависят от типа информационного сигнала, циркулирующего в информационных цепях, габаритов, конструктивных особенностей технических средств. В совокупности они представляют собой электромагнитное поле, создаваемое протяженной передающей антенной, изменяющееся по закону информационного сигнала и распространяющееся в окружающей среде.
Для простейшего случая, к которому можно свести множество реальных ситуаций, структура электрических и магнитных полей гармонических составляющих любого спектра информативных сигналов в пространстве, окружающем работающее техническое средство, может рассматриваться на основе решений уравнений Максвелла для излучателя в виде симметричного вибратора.
| Каналы утечки информации за счет информативных побочных электромагнитных излучений и наводок | ||||
| ||||
| 1. Вызванные информативными электрическими и магнитными полями рассеяния |
| |||
| 2. Вызванные информативными сигналами, наведенными в различных токопроводящих средах | |||
| 3. Вызванные паразитной модуляцией сигналов высокочастотных генераторов информативными (провоцирующими) сигналами |
| |||
Рисунок 2- Каналы утечки информации за счет электромагнитных излучений и наводок
Значения напряженности магнитного и электрического полей, создаваемых симметричным вибратором, могут быть найдены по формулам:
(1)
где Е и Н - напряженность электрической и магнитной компонент поля; q = l/ 2p r, r - длина радиуса-вектора;
Z0 = 377 Ом - волновое сопротивление свободного пространства;
I - ток в симметричном вибраторе;
D - оптимальная длина (габариты излучателей) суммарной протяженной антенны (технического средства);
q - полярный угол;
j - долгота;
y = (2p r)/lw t, w - круговая частота, t - время.
Формула справедлива при условии, что D <<l (D - габариты излучателей).
Анализ выражений (1) показывает, что вокруг технического средства существует три зоны. В первой (ближней), для которой r < l/2p, H убывает пропорционально 1/ r 3, во второй (дальней), для которой 3l < r, Н убывает пропорционально 1/ r, в третьей (промежуточной), для которой l/2p< r <3l, Н убывает преимущественно пропорционально 1/ r 2. При этом, расстояние от границ раздела зон до технического средства тем больше, чем больше l, т.е. меньше частота f.
В ближней зоне расстояние r значительно меньше волны электромагнитного сигнала - (r << l/2p) и поле имеет ярко выраженный магнитный (или электрический) характер, а в дальней зоне (r >> l/2p) - поле носит явный волновой электромагнитный характер и распространяется в виде плоской волны и чем больше расстояние r, тем поле слабее. Налицо - эффект «рассеяния».
Более точной моделью технического средства, являющегося преимущественно источником излучений в виде электрического поля, является несимметричный вибратор, размещенный над идеально проводящей поверхностью земли. Для такой модели учитывается отражение сигналов от поверхности земли. Наиболее приближенной к реальности является модель, в которой учитывается проводимость земли. В этом случае результирующая напряженность поля в точке приема усиливается.
В первом типе каналов длина волны определяет расстояние, следовательно, излучатели электромагнитных сигналов правомерно разделить на низкочастотные, высокочастотные и оптические.
К низкочастотным излучателям, в основном относятся звукоусилительные устройства. В ближней зоне таких устройств наиболее мощно выступает магнитное поле опасного сигнала. Такое поле легко обнаруживается и принимается посредством магнитной антенны и селективного усилителя звуковых частот.
К группе высокочастотных излучателей относятся ВЧ автогенераторы, модуляторы ВЧ-колебаний и устройства, генерирующие паразитные ВЧ- колебания по различным причинам и условиям. Источниками опасного сигнала выступают ВЧ генераторы радиоприемников, телевизоров, измерительных генераторов, мониторов ЭВМ. Модуляторы ВЧ колебаний, как и элементы, обладающие нелинейными характеристиками (диоды, транзисторы, микросхемы), порождают нежелательные составляющие ВЧ- характера.
Второй тип (см. рисунок 2) каналов утечки информации образуется на основе появления паразитных связей (наводок) р азличного характера между информационными цепями основных и вспомогательных технических средств и различными токопроводящими средами, в большинстве случаев не имеющими прямого отношения к информации, обрабатываемой с помощью данного технического средства. Информативные токи в указанных средах, возникающие благодаря просачиванию в них сигналов из информационных цепей, распространяясь в этих средах, могут быть перехвачены за пределами контролируемой территории.
Кроме того, они являются источниками вторичных информативных излучений, которые также могут быть зафиксированы, и по ним может быть восстановлена обрабатываемая информация.
Случайной антенной является цепь вспомогательного технического средства или посторонние проводники, способные принимать побочные электромагнитные излучения. Случайные антенны могут быть сосредоточенными и распределенными (протяженными). Сосредоточенная антенна представляет собой компактное техническое средство (телефонный - аппарат, громкоговоритель ретрансляционной сети, датчик охранной сигнализации и т.д.). К распределенным (протяженным) случайным антеннам относятся случайные антенны с распределенными параметрами: кабели, провода, металлические трубы и другие токопроводящие коммуникации (среды распространения).
К таким средам в общем случае относятся:
- система заземления и сеть электропитания технических средств;
- цепи связи, находящиеся в том же кабеле, в котором имеются информационные цепи - источники перехватываемой информации;
- различные линии связи, имеющие параллельные пробеги с информационными цепями - источниками перехватываемой информации, а также с линиями электропитания и шинами заземления технических средств - источников информации;
- различные металлические трубопроводы (системы отопления, вентиляции), металлоконструкции зданий и другие протяженные токопроводящие объекты.
Источником образования третьего типа каналов (см. рисунок 2) является, как правило, непреднамеренная модуляция высокочастотных сигналов ВЧ-генераторов (или усилителей), имеющихся в технических средствах (в их неинформационных цепях), информационными сигналами, проникающими в них из информационного тракта за счет паразитных связей. В результате образуется более опасный технический канал утечки информации, нежели каналы, возникающие при прохождении рабочих информационных сигналов.
Основными видами паразитных связей в схемах электромагнитных устройств являются емкостные, индуктивные, электромагнитные, электромеханические связи и связи через источники питания и заземления радиоэлектронных устройств.
Для цифровых интегральных микросхем, кроме паразитной генерации, которая в принципе может возникнуть в любых активных (логических) элементах, выделяют генерацию, обусловленную паразитными колебаниями, возникающими в соединениях между микросхемами (из-за несогласованности импедансов элементов схемы).
В случае если в информационный тракт технического средства входят усилители, то при их неустойчивой работе возникает самовозбуждение в рабочем диапазоне частот или за его пределами.
Перехват побочных электромагнитных излучений технических средств осуществляется средствами радио- и радиотехнической разведки, размещенными вне пределов контролируемой зоны (охраняемой территории).
Технические каналы утечки информации на базе средств пассивного перехвата
Физическая сущность «микрофонного эффекта»
При работе некоторых технических средств, наряду с электромагнитными полями «рассеяния» возникают информативные акустические, виброакустические, гидроакустические и акустоэлектрические поля (сигналы); при телефонном разговоре - электросигнал в линии и различные наводки и влияния; при радиотелефонном разговоре появляется электромагнитный сигнал.
Акустическая энергия, возникающая при разговоре, может вызвать акустические (механические) колебания элементов электронной аппаратуры, что приводит к появлению электромагнитного излучения или к его изменению при определенных обстоятельствах. Наиболее чувствительными элементами радиоэлектронной аппаратуры к акустическим воздействиям являются катушки индуктивности и конденсаторы переменной емкости.
Рассмотрим акустическое воздействие на катушку индуктивности с сердечником и условия возникновения ЭДС индукции на ее концах (индуктивный преобразователь).
Под воздействием акустического давления появляется вибрация корпуса и обмотки катушки. Вибрация вызывает колебания проводов обмотки в магнитном поле, что и приводит к появлению ЭДС индукции на концах катушки.

где ФС - магнитный поток, замыкающийся через сердечник;
ФВ - магнитный поток, замыкающийся через обмотки по воздуху.
Электродвижущая сила зависит от вектора магнитной индукции, магнитной проницаемости сердечника, угла между вектором и осью катушки и площадей поперечных сечений сердечника и катушки.
Индуктивные преобразователи подразделяются на электромагнитные, электродинамические и магнитострикционные.
К электромагнитным преобразователям относятся такие устройства, как громкоговорители, электрические звонки (в т.ч. и вызывные электрические звонки телефонных аппаратов), электрорадиоизмерительные приборы.
Примером непосредственного использования этого эффекта для целей акустического преобразования является электродинамический микрофон (см. рисунок 3). ЭДС на выходе катушки определяется по формуле:

где L = 4kpm0w2S/ l - индуктивность;
k - коэффициент, зависящий от соотношения параметров;
l -длина намотки катушки;
m0 - магнитная проницаемость;
S - площадь поперечного сечения катушки;
w- число витков катушки.

Рисунок 3 - Электродинамический микрофон
Возникновение ЭДС на выходе такого преобразователя принято называть «микрофонным эффектом». Таким образом, микрофонный эффект - появление в цепях радиоэлектронной аппаратуры посторонних (паразитных) электрических сигналов, обусловленных механическим воздействием, в т.ч. давлением звуковой волны. Микрофонный эффект может проявляться как в электродинамической, так и в электромагнитной, конденсаторной и других конструкциях, широко используется в микрофонах различного назначения и исполнения (в т.ч. специальных). Каналы утечки информации, формируемые на основе «микрофонного эффекта», называются каналами за счет электроакустических преобразований, так как для их образования необходимо преобразование механических колебаний в электрические сигналы. Элементы, в которых осуществляется указанное преобразование, называются электроакустическими преобразователями.
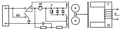
Приведем классический пример. Телефонный аппарат, даже в случае, когда его телефонная трубка покоится на положенном ей месте (непосредственно по телефону разговор не ведется), может служить причиной образования канала утечки информации за счет электроакустических преобразований (микрофонного эффекта), так как данный звонок - типичный представитель индуктивного акустоэлектрического преобразователя, микрофонный эффект, которого проявляется при положенной микротелефонной трубке. На рисунке 4 приведена схема телефонного аппарата.

Рисунок 4 - Схема телефонного аппарата
Электродвижущая сила микрофонного эффекта звонка может быть определена по формуле:
Eм.э.=h p,
где р - акустическое давление;
h = FSm0wSм/d2zм - акустическая чувствительность звонка;
F - магнитодвижущая сила постоянного магнита;
S - площадь якоря (пластины);
m0 - магнитная проницаемость сердечника;
w- число витков катушки;
Sм - площадь плоского наконечника;
d - значение зазора;
zм - механическое сопротивление.
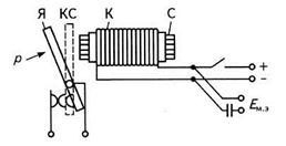
На таком же принципе (происходящих физических явлениях в электромеханическом вызывном звонке) образуется микрофонный эффект и в отдельных типах электромеханических реле различного назначения (см. рисунок 5)

КС - контактная система; К- катушка, С – сердечник
Рисунок 5 - Схема работы реле
Колебания якоря изменяют магнитный поток реле, замыкающийся по воздуху, что приводит к появлению на выходе катушки реле ЭДС микрофонного эффекта. Аналогичными свойствами могут обладать также элементы других технических средств.
Под воздействием акустического поля емкостные преобразовывающие элементы превращают изменение емкости в изменение электрического потенциала, тока, напряжения (линейных характеристик колебательных контуров), что приводит к изменению параметров контуров по закону информативного сигнала (например, колебание мембраны конденсаторного микрофона микротелефонной трубки телефона, которая также, в свою очередь, может покоиться на телефонном аппарате). Микрофонным эффектом обладают элементы электроизмерительных приборов, различные трансформаторы (повышающие, понижающие, входные, выходные, питания и др.).
Микрофонный эффект оптических преобразователей
В современных волоконно-оптических системах (ВОЛС) в процессе передачи информации используется модуляция источника света по амплитуде, интенсивности и поляризации. Внешнее акустическое воздействие на волоконно-оптический кабель приводит к изменению его геометрических размеров (толщины), что вызывает изменение пути движения света, т.е. к изменению интенсивности, причем пропорционально значению этого давления. Налицо - микрофонный эффект в ВОЛС передачи информации (чувствительность световода к давлению определяется значением соотношения Ч = Dj/jD p, где Dj - сдвиг фазы, вызываемый изменением давления D p.
Изучение свойств твердых диэлектриков показало, что некоторые из них поляризуются не только с помощью электрического поля, но и в процессе деформации при механическом воздействии на них. Поляризация диэлектрика при механическом воздействии на него называется прямым пьезоэлектрическим эффектом. Данным эффектом обладают кристаллы кварца и все сегнетоэлектрики (при сдавливании кварца его противоположные грани заряжаются полярно и величина заряда пропорциональна давлению, на выходных контактах образуется соответствующий электрический сигнал). Кварцевые пластины широко используются в пьезоэлектрических микрофонах, охранных датчиках, стабилизаторах генераторов незатухающих колебаний.
Воздушные и вибрационные технические каналы утечки информации
Воздушные и вибрационные технические каналы утечки информации разведываются с помощью специальных и узконаправленных микрофонов. В воздушных ТКУИ средой распространения информационных сигналов является воздушная среда и для их перехвата используются как скрытые проводные линии связи, оборудованные миниатюрными высокочувствительными микрофонами, так и специальные узконаправленные микрофоны. С помощью таких микрофонов можно прослушать разговор на расстоянии до 1 км в пределах прямой видимости.
Простой направленный микрофон представляет собой набор из семи алюминиевых трубок диаметром до 10 мм. Длина трубок определяет резонансную частоту звукового сигнала. Микрофон располагается в параболическом улавливателе. Усиление перехваченного сигнала осуществляется микрофонным усилителем. Этот направленный микрофон перекрывает весь спектр звуковых (речевых) колебаний (300...3300 Гц). Расширение диапазона принимаемых частот в целях обеспечения высокого качества принимаемых речевых сигналов осуществляется за счет увеличения числа резонансных трубок и изменения их длины, для чего производятся специальные инженерные расчеты (система из 37 трубок, например, обеспечивает перекрытие диапазона от 180 до 8200 Гц).
В вибрационных ТКУИ средой распространения акустических сигналов являются конструкции зданий, сооружений, трубы водоснабжения, системы отопления, канализации и другие твердые тела и поверхности. Для перехвата акустических колебаний в этом случае используются контактные микрофоны (стетоскопы). Контактные микрофоны, соединенные с электронным усилителем называют электронными стетоскопами.
Технические каналы утечки информации на базе средств активного перехвата
Технические закладные устройства
Технические закладные устройства (ТЗУ) представляют собой малогабаритные приборы (до размеров булавочной головки), предназначенные для сбора и передачи на достаточно большие расстояния (от нескольких сотен до нескольких тысяч метров) как информации, обрабатываемой, передаваемой и т.п. с помощью технических средств (аппаратурные закладки), так и речевой информации (радиомикрофоны).
По диапазону работы ТЗУ делятся на:
- радиозакладки, работающие в радиодиапазоне;
- ИК- закладки, работающие в инфракрасной части спектра.
По среде, служащей для передачи собранной информации (либо передаваемой в режиме реального времени), радиозакладки делятся на две группы:
- работающие по радиоэфиру;
- работающие по линиям связи, сетям электроснабжения и другим токопроводящим металлическим протяженным конструкциям.
Наиболее часто используемый диапазон радиозакладок первой группы 20...25; 130...174; 350...512 Мгц. Вторая группа закладок работает в диапазоне 500...300 кГц.
По конструктивному исполнению и тактическому использованию радиозакладки подразделяются на:
- телефонные (устанавливаются непосредственно в телефонах) и
- микрофонные (акустическое прослушивание разговоров в помещениях).
Радиомикрофон - это микрофон, объединенный с радиоканалом передачи звуковой (акустической, речевой) информации. Иногда их называют как радиозакладками, радиокапсулами, иногда - «жучками» (самое точное - радиомикрофон). Популярность их обусловливается простотой и удобством оперативного применения.
В самом простом случае радиомикрофон состоит из собственно микрофона, определяющего зону акустической чувствительности ТЗУ (20...30 м) радиопередатчика, определяющего дальность его действия, скрытность работы и, излучающего в пространство несущую частоту, промодулированную электрическими сигналами с микрофона. Существенное влияние на длину радиоканала оказывает тип радиоприемного устройства. В состав ТЗУ может входить устройство записи и управляющее устройство (для включения по началу разговора, голосу, режиму передачи - либо в реальном масштабе времени, либо импульсной, регулировке несущей частоты и др.).
Некоторые аппаратурные ТЗУ предназначены не для создания ТКУИ, а для уничтожения, искажения обрабатываемой, передаваемой, принимаемой, отображаемой и т.п. информации и программного обеспечения ЭВМ, а также для уничтожения отдельных узлов и плат этих устройств.
Лазерные подслушивающие устройства. Лазерный (один из оптико-электронных каналов) канал утечки акустической информации образуется при облучении лазерным лучом вибрирующих в акустическом поле тонких отражающих поверхностей (стекол, окон, картин, зеркал). Разведывательный луч лазера, попадая на вибрирующий объект разведки, модулируется по амплитуде и фазе (по закону вибрации разведываемой поверхности), отражается и в видоизмененной форме (диффузной или зеркальной) принимается приемником лазерного излучения, при демодуляции возвращенного луча выделяется речевая информация.
Лазерные подслушивающие устройства («лазерные микрофоны») являются сложными техническими системами, работающими по принципу локации, как правило, в ближнем ИК-диапазоне волн. Дальность действия таких систем составляет сотни метров.